
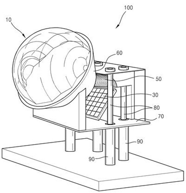
Hemispherical lens is used in the front as shown in the picture. If lens were produced in this manner, the surface area illuminated would increase and operating hour would be long. DIYPRO developed the lens designed as you can see in the above photo in 2009, applied for a patent for it.

The figure below shows the size of the lens designed in consideration of the size of the overall size of the cells in the Enclosures.

Tel. 070-7605-0693
Fax. 031-888-5445
Yeongtong-ro 323beon-gil 38,
Suwon-si, Gyeonggi-do
16676, SOUTH KOREA
Tel : +82 70-7605-1652
Ashton@fresnelfactory.com
Silicon Valley,
3003 North First Street
San Jose, CA 95134
Tel :+1 925-457-1758
Frank.yim@fresnelfactory.com
© 2002 - 2026 Fresnel Factory Inc..